
近期,又一校园餐问题引热议。
10月14日,辽宁鞍山铁西区实验学校被曝光要求学生在《校园餐学生满意度问卷调查表》只能填写“满意”或“非常满意”,曝光视频里,学生用橡皮擦将选了“一般”和“不满意”的痕迹都擦掉。
10月15日,铁西区教育局就此事作出回应:铁西区委、区政府立即责成区纪委、区教育局等部门已组成联合调查组,将全面核实处理此事。目前已重新启动不记名问卷调查工作,力求真实听取学生意见,确保调查过程的客观公正。联合调查组后续将依据调查结果,对发现的任何违规行为依法依规严肃处理,并追究相关责任人责任。

10月15日,铁西区教育局发布情况说明回应这一事件/图源:铁西区教育局
与食品安全这样的大事不同,调查问卷造假似乎属于伤不到筋骨的小事,但在校园餐一再出问题刺激家长神经的当下,这样的“小事”已不再小。家长逐渐意识到,正是对各种看似无关痛痒的细节的一次次容忍与忽略,最后会酿成越来越大的安全事故。所以,面对孩子的餐桌,不能再糊涂下去。
01
不好吃的校园餐
对大部分人来说,“只能填YES”的问卷经历其实并不陌生,在学校里也同样如此。问卷大多都不会设定为非黑即白,在崇尚中庸文化的地方,人们通常也不会选那个最极端的负面选项。比如对某人的评价,即便你讨厌TA,也许也会打2-3分,而不是0分。
比起评判人,评判食物应该轻松多了。一个五岁以上的孩子,大概率也能判断一口吃进嘴里的食物是否好吃,但要他们做出直率的评价有时也是困难的,因为大人不想听到。一个孩子表示不好吃,往往会被批评为“挑食”“浪费粮食”,这种上位者视角的批评,传到小孩子心里,却是混乱和模糊了他们自己的判断,原来食物不好吃不仅仅是食物不好吃,还意味着那么多东西。
校园餐究竟难吃吗?2021年,新华社一篇《吃饱容易吃好难?——中小学“校园餐”槽点何来》的报道里提到,早在2018年,中国科学院地理科学与资源研究所与世界自然基金会联合发布的《中国城市餐饮食物浪费报告》显示,有地区中小学生盒饭食物浪费量约占供应量的1/3。“新华社记者走访也发现,‘校园餐’‘不好吃、扔一半’的情况并非个例。不少家长和孩子却大倒苦水,不是因为‘太挑食’,而是餐食确实‘不好吃’。”

10月14日,在河南郑州某大学食堂收餐台上,餐盘里有不少剩饭剩菜/新华社记者郝源摄
我想起自己小学时吃过的校园餐,那是贵阳一所排名前三的公立小学,1-3年级时,学校要求学生必须在校内吃早餐——当然还额外收了餐费。每天早上到校后,学生的第一件事就是排队按人头分发早餐。当天带领早自习的老师会盯着,确保每一个孩子都拿到自己那一份。而我记得的是,几乎没有一天,领早餐时不是怀着沉重的心情。
每周有五天,早餐在煮粉、面包、馒头之间轮转,最让我感到恐惧的,是用不锈钢碗装的粗粉,虽然只有铺在碗底的浅浅一层,但除了酱油和醋以外没有任何调料,甚至没有葱花,味道发酸,难以下咽。
早餐难吃,成为学生们之间的共识。但如果吃完后交上去的碗中剩不少,老师则会责骂学生浪费粮食。于是,大家摸索出了一种“偷不吃”的方法——找到教学楼旁边的一处墙壁夹层,趁老师不注意,偷偷把粉倒进去。日积月累,不知学校的缝隙里藏纳了多少被学生抛弃的餐食。

9月9日,贵州省安顺市紫云县民族高级中学食堂中,教师与学生一起就餐/新华社发(陈熙摄)
除了孩子,家长之间也有共识。未必每一个孩子都会回家告诉家长学校早餐难吃,但大部分家长都担忧学校早餐营养不均衡,或是不够新鲜,于是多数都会先安排孩子在家里吃完一份早餐后,再去学校随便对付几口。于是,先吃一份早餐,再捏着鼻子吃另一份早餐,成为我念一二年级时的常态。
在遍及学生中的类似常态下,学校里的餐食不能俘获孩子们的心,也变成了习以为常的集体默契。大家也“通情达理”地接受了:大锅饭嘛,本来就难以兼顾每个个体的口味,不能苛求太多,忍一忍,对付过去就算了。

10月1日,市民游客在大院饭堂里排队选购餐食/新华社记者卢汉欣摄
如今回想起来,我仍会为这样的“常态”感到惊诧。校园餐难吃是一回事,但长期默许它难吃,如此几年无从改变是另一回事。为什么每天都在吃校园餐的孩子,却没有资格评价自己的食物?为什么在学校里,“忍着吃”成了唯一的选择?
校园餐问卷的设计,本该是建立反馈与监督机制,促进校园餐质量改进,保障孩子们最基本的用餐权利。这原本是一个好事,但辽宁鞍山铁西区实验学校装模作样地要学生填问卷,又不许学生说真话,就让人无法理解了。
02
更重要的是有选择的权利
学生和家长们也曾投诉过。
在2025年9月中旬上海的学校终于被曝出食物糟糕、引起公众广泛注意之前,就已有家长、学生多次在社交平台反映午餐供应商上海绿捷配餐品质存在问题,包括但不限于菜品质量差、油炸食品过多等,“家长们反馈、投诉后并无明显改善”。
在事件发生后,有不少家长“偷偷”从家里给孩子带午饭到学校吃。之所以要偷偷,因为大部分学校规定不允许私自带饭,只能在学校统一订餐。此时,有疾病的家庭,获得了自己带饭的“特权”,但纵是如此,也须要跟随集体交固定的餐费。

社交平台上有学生家长想要通过开过敏证明的方式让自己的孩子带饭/社交媒体截图
家长偷偷带饭,是系统失灵的一种注脚。若制度将责任层层外包、将监管变为流程,校园餐也就成了一门合规的生意,形式上仍然环环相扣,但现实中却处处脱节。
那么,学校统一供餐机制是如何运行的?
目前,我国城市里中小学都将食堂对外承包或委托经营,且大多遵照《中华人民共和国招标投标法》及其实施条例等规定执行公开招标,并根据教育部等部门出台的《中小学校园食品安全和膳食经费管理工作指引》《学校食堂大宗食材采购验收管理工作指引》等条例,对校园餐涉及的采购、验收、监督、退出机制等环节提出规范要求。因为人数多、需求量大,一直以来,学校供应商都是各餐饮企业竞相争夺的“香饽饽”,学生、家长与社会各界对此的担忧,也无外乎学校与供应商之间是否可能存在利益牵扯。
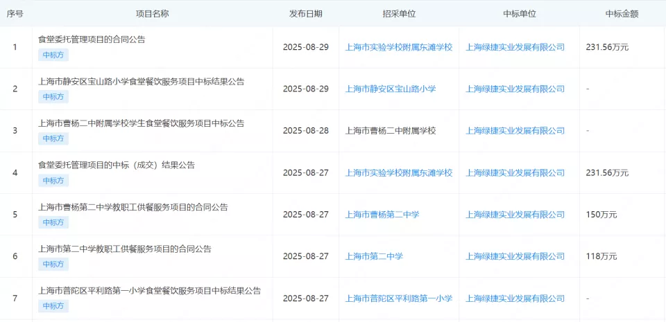
前不久涉事上海学生餐风波的“上海绿捷实业发展有限公司”,就是一家拥有十余年历史的老牌餐饮公司。它成立于2014年,后来发展为上海市中小学生最大的营养餐供应企业,仅在2025年8月一个月内就密集中标27个项目,覆盖全市16个区的500多所学校,日供餐超50万份,是一个妥妥的“中标”大户。

上海绿捷实业发展有限公司中标了上海22所中小学、职业技术学校的供餐服务或食堂餐饮服务项目/图源:天眼查
这样一家企业,在事发后,发布的声明之言简意赅、态度之冷淡——“对于涉及此事的学生和家长,我们表示最诚挚的歉意。对于有关部门采取的措施,我们全面接受,全力配合”——更引起了家长的不满。
如今,家长和社会对校园餐的担忧,本质上是在为这种既不完全透明,又难以彻底改变的校园餐环境,寻求一条新的出路。
如果校园食堂是完全的市场竞标、商家入驻,有健全的监督机制,学生的反馈会成为供应商重视的宝贵意见。在一个有竞争的环境里,对一家的商品不满意,就可以转向另一家,这是很正常的市场逻辑。竞争机制会自发导致相互之间的监督,并且因为有了竞品和自由选择的空间,均价会被压下去。

9月26日,朝阳区香河园街道中央厨房的厨师在准备制作午餐/新华社记者李欣摄
比起个人的口味,更重要的,是选择的权利。
当家长不需要躲躲藏藏给孩子带一份安心的食物,当少吃一口统一食物的行为不会被教育者批评为浪费粮食或挑食,当一个孩子的声音能被尊重、被倾听,健康的空间才真正开始生长。毕竟,孩子从书本中学到的只是极小部分的知识,而他们被如何对待,才决定了他们将成长为什么样的人。